亚投app官方下载(中国)有限公司
手机/微信:15397392999
search
首页
关于首核
公司简介
总部及子公司
企业文化
荣誉资质
总裁致辞
产品中心
三亿体育官网入口
蝶阀系列
球阀系列
闸阀系列
截止阀系列
止回阀系列
过滤器、排气阀、排泥阀系列
电动阀门系列
水力控制阀系列
偏心半球阀、调流调压阀 倒流防止器系列
落地案例
广州铁路局编组站铸钢闸阀适用现场
中石油湖北宜昌油库调试现场
中石化广东茂名润滑油项目现场
中石化武汉润滑油扩建项目现场
上海高桥石化添加剂安装现场
福州可门港LNG安装现场
武汉金银湖南街片区雨污分流改造项目现场
唐山LNG母站设备调试完毕
西气东输湖北枝江输气站现场
成都市CNG加压站阀门调试完毕CNG
科研创新
制造实力
精良设备
客户服务
质量承诺
服务理念
资料下载
新闻资讯
公司动态
展会信息
行业资讯
常见问题
联系我们
联系我们
在线留言
首页
产品中心
控制阀
ZMQSY气动薄膜Y型疏水阀
控制阀
产品特点
技术参数
technical parameter
相关产品
Related Products
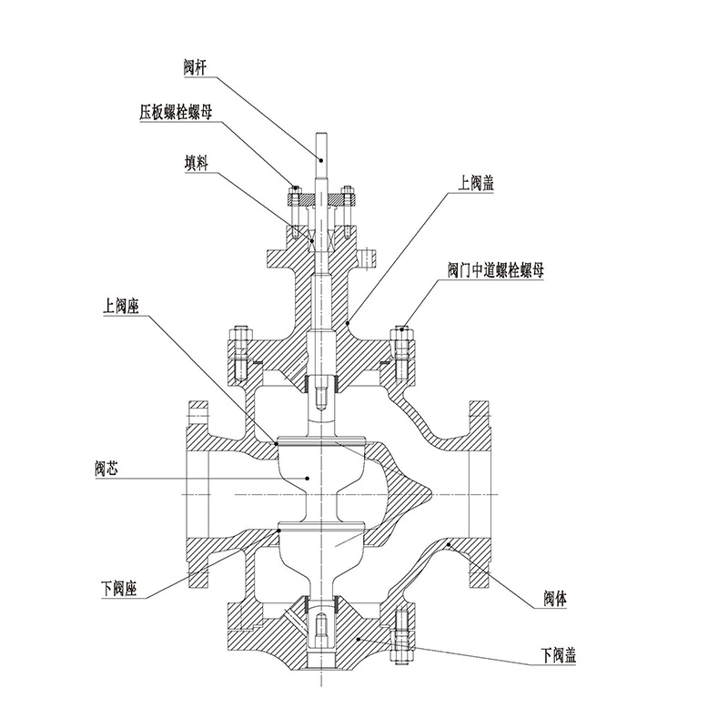
单座三亿体育官网入口和双座三亿体育官网入口结构和特性
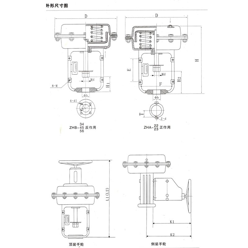
ZHA/B多弹簧气动薄膜执行机构
LHAD(R)多弹簧薄膜执行机构
GT阀门气动执行机构
LVA6单作用气缸
LVA5单弹簧薄膜执行机构
ME670,Q641F气动切断球阀
ZMQSY气动薄膜Y型疏水阀
ME680气动调节蝶阀
ZZVP微压泄氮阀
ZZYVP微压供氮阀
JM系列机构图
15397392999